Themabewertung:
  • 0 Bewertung(en) - 0 im Durchschnitt
  • 1
  • 2
  • 3
  • 4
  • 5
Längenresonanz einer Röhre vermindern
#1
Hallo,

mir hat das Thema keine Ruhe gelassen, ob- und wie man die Längenresonanz einer Röhre mindern kann.
Ausgangslage ist die Situation, das in einem ca. 70cm langen Rohr mit ca. 16.5cm Innendurchmesser
der Tiefmitteltöner oben- und eine Passivmembran ("verkehrtherum mit der Membran nach oben") eingebaut
ist. Siehe auch den zugrunde liegenden Thread hier:

https://www.diy-hifi-forum.eu/forum/show...R-aber-wie

Im diesem Thread hatte ich mit Eismann eine Reihe von Versuchen angestellt, ob- und wie man
mit IRR´s und/oder einer geschickten Bekämpfung die Resonanz der Längswelle in den Griff bekommt.

Das Ergebnis war, das man bei einem geschickten Anbringen von 25mm Noppenschaumstoff und einem
Basotectkegel hinter dem Magneten zu brauchbaren Ergebnissen kommt.
Leider verminderte sich damit auch der Wirkungsgrad im Bassbereich.
Eine Erhöhung der Menge an Noppenschaumstoff bewirkte zudem, das der Bassbereich eher müde und langsam wirkte.

Meine Überlegung ist, die Längsresonanz abzuschwächen, indem der Schall zwischen TMT und PM verschieden
lange Wege durchläuft.

Mehr dazu in meiner beigefügten Skizze im Anhang.

Grüße aus Kölle
Paco


Angehängte Dateien Thumbnail(s)
   
Zitieren

#2
[QUOTE=paco de colonia;242659

Leider stehen mir in unserem Südfrankreichurlaub außer einem Stift+Notenblock keine besseren Hilfsmittel
zur Verfügung, so das ich die beigefügte Skizze im Einzelnen erklären muss.
Natürlich kann ich auch Chassis, Gehäuse und alles Andere nicht mal über 100km eben herzaubern, so das es für die nächsten Wochen erstmal ein reines Denkmodell bleiben wirdBig Grin
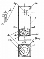
Und leider dreht "Photo Booth" meine Skizze um 180Grad, so das Ihr von Rechts nach Links lesen müsst.

1. Das ist die Ausgangslage, Gehäuse=Rohr, oben der TMT unten die Passivmembran
2. Ein ca. 60cm langes Kunstoffrohr aus dem Baumarkt wirkt aufgeschlitzt und über den TMT-Magneten gestülpt.
Das Rohr ist minimal größer im Durchmesser wie der Magnet. Der Spalt/Schlitz ist ca. 8-12mm breit.
3. Eine Spirale aus Filz, ca. 150cm lang und wenige cm breit wird spiralförmig mit dem Kunstoffrohr verklebt.
Der Filz soll den Zwischenraum zwischen Innenwand des Gehäuserohrs und dem kleineren Kunstoffrohr
hinter dem Magneten abdichten.
Zusätzlich werden ca. 3 Kugeln aus Dammmaterial im Inneren des kleinen Kunstoffrohrs platziert.
Diese sollen einerseits das Kunstoffrohr akustisch in mehrere kleine Kammern aufteilen und einen
ungebremsten Durchfluss des Schalls von TMT zur PM (Orgelpfeife) verhindern.
4. Ein Teil des Schalls soll im Zwischenraum zwischen Gehäuse und Kunstoffrohr
vom TMT zur PM laufen. Der andere Teil soll durch den Schlitz und verschiedene "Dämpfungskugeln" zur PM
laufen. Das "Aufbrechen" des Schallwegs in mehrere verschieden lange Schallwege ist das Ziel, um die
Hauptresonanz (und deren Vielfache) zu vermindern.

Später soll zusätzliches Dammmaterial nur an den Stellen angebracht werden, die unbedingt notwendig sind.

Was haltet Ihr von der Idee?

Grüße aus Südfrankreich
Paco


Angehängte Dateien Thumbnail(s)
   
Zitieren

#3
Hallo Paco,

irgendwie kommt mir der Gedanke an Valentins Tornadobox in dem Sinn.
http://www.tornadoacoustics.ru/
Ich bin wieder da
LG
Kay
Zitieren

#4
Kaspie schrieb:Hallo Paco,

irgendwie kommt mir der Gedanke an Valentins Tornadobox in dem Sinn.
http://www.tornadoacoustics.ru/

Hallo Kaspie,

auf der HP sind ja Unmengen an Infos, Fotos, Videos und vielen Beiträgen auf Kyrillisch.
Auf welche Technologie, bzw. welche genaue Unterseite bezieht sich Dein Gedanke?

Grüße aus Uzes/Südfrankreich
Paco
Zitieren

#5
Hallo,

mir ist eben noch die Idee gekommen, im Innenrohr statt dem kugelförmig angeordnetem Dämpfungsmaterial
im Innenrohr 1 oder 2 Scheiben aus dickem Basotect einzusetzen.

Der Schallabsorptionsgrad meiner zur Verfügung stehenden Baso-Scheiben mit 12cm Dicke dürfte bei der
240Hertz-Reso etwa 75% betragen (s. beiliegendes Diagramm).

Dies würde das Innenrohr deutlich effektiver in Einzelkammern aufteilen, und die Stehwelle bei ca. 240Hertz
und deren Vielfachen deutlich abschwächen.

Grüße aus Südfrankreich
Paco


Angehängte Dateien Thumbnail(s)
   
Zitieren

#6
Moin, warum baust Du nicht einen Internen Resonator nach Tonfeile ein ?
Den dann passend Bedämpfen.
40 -50mm HT Rohr mit Halber Gehäuselänge an einer Seite geschlossen.
In Hamburg sagt man, Moin , LG Olaf_HH
Meine aktuellen Projekte auf IGDH:
Kondensatoren, gibt es klangliche Unterschiede ? - [B] M-L-W-R --Sherwood PM9800 --
[/B]Magnat MA900 Röhrentuning -- DynaLigth-MK2

Zitieren

#7
Hallo Paco,

ich habe das bei mir so eingestellt, dass ich gleich die Übersetzung bekommeSmile
http://www.tornadoacoustics.ru/index/0-2
Auf der Skizze markiert:


  1. Vibrationsplatte (Fiberglas oder Polycarbonat);
  2. Elastische Befestigung der Vibrationsplatte - Silikon;
  3. Der Körper der Säule (mein Lieblingsmaterial ist ein natürlicher Baum);
  4. Lautsprecherkopf;
  5. Dämpfungswellenfilter oder Propeller;
  6. (a, b) Zwei Spiralbohrungen zwischen dem runden Loch und dem Propeller.
[ATTACH=CONFIG]45619[/ATTACH]
Hier die Patentschrift von Valentin Kludt
http://www.tornadoacoustics.ru/content/t...0.21S1.pdf

Dieses System ist im Audiotreff Selbstbau lang und breit diskutiert worden


Angehängte Dateien Thumbnail(s)
   
Ich bin wieder da
LG
Kay
Zitieren

#8
paco de colonia schrieb:Der Schallabsorptionsgrad meiner zur Verfügung stehenden Baso-Scheiben mit 12cm Dicke dürfte bei der
240Hertz-Reso etwa 75% betragen (s. beiliegendes Diagramm).

Es wurde zwar schon oft genug erwähnt, aber hier noch einmal: Basotect ist nicht das optimale Material um Stehwellen zu bedämpfen.

Bildlicher Hintergrund: es gibt zwei Möglichkeiten, Dämpfungsmaterialien anzubringen, nämlich parallel oder in Reihe zur Ausbreitungsrichtung. In dem Fall Deines Rohres wäre parallel eine mit dem Material ausgekleidete Wand, in Reihe ein Stopfen mittendrin oder an einem Ende.

Übersetzen wir das einmal in eine elektrische Schaltung: Du hast einen relativ kleinen Widerstand (das freie Rohr), und schaltest dann dazu einen Widerstand (das Dämpfungsmaterial) parallel bzw. in Reihe. Angenommen, der zusätzliche Widerstand wäre sehr groß, dann fließt im parallelen Fall der gesamte Strom durch den kleinen (das Rohr), während in der Reihenschaltung kaum noch Strom fließt.

Basotect hat einen sehr hohen Widerstand, ist in diesem Fall also nicht geeignet. Es funktioniert ziemlich gut in der Raumakustik in diffusen Feldern (aber z. B. nicht mehr bei Moden). Andere Schäume sind hier viel besser geeignet.
Zitieren

#9
Olaf_HH schrieb:Moin, warum baust Du nicht einen Internen Resonator nach Tonfeile ein ?
Den dann passend Bedämpfen.
40 -50mm HT Rohr mit Halber Gehäuselänge an einer Seite geschlossen.

Hallo Olaf,

wie schon in Thread #1 beschrieben (und dort mit dem entsprechenden Link aus Februar 2018 versehen) brachten
alle unsere Versuche mit den IRR´s à la Tonfeile nicht das gewünschte Ergebnis.

Vielleicht war ein Grund dafür, das ein Rohr oben mit TMT und unten mit PM die ungünstigste Möglichkeit für
einen Lautsprecher darstellt.

Aber vielleicht benötigt die geplante, neue Gehäuseform einen IRR um eine Rest-Längswelle plattzumachenConfused

Viele Grüße aus Uzès
Paco
Zitieren

#10
Kaspie schrieb:Hallo Paco,

ich habe das bei mir so eingestellt, dass ich gleich die Übersetzung bekommeSmile
http://www.tornadoacoustics.ru/index/0-2
Auf der Skizze markiert:


  1. Vibrationsplatte (Fiberglas oder Polycarbonat);
  2. Elastische Befestigung der Vibrationsplatte - Silikon;
  3. Der Körper der Säule (mein Lieblingsmaterial ist ein natürlicher Baum);
  4. Lautsprecherkopf;
  5. Dämpfungswellenfilter oder Propeller;
  6. (a, b) Zwei Spiralbohrungen zwischen dem runden Loch und dem Propeller.
[ATTACH=CONFIG]45619[/ATTACH]
Hier die Patentschrift von Valentin Kludt
http://www.tornadoacoustics.ru/content/t...0.21S1.pdf

Dieses System ist im Audiotreff Selbstbau lang und breit diskutiert worden

Hallo Kaspie,

interessanter Ansatz, aber ich sehe keine so richtigen Übereinstimmungen mit meinem Modell außer vlt. den spiralförmig
miteinander verschlungen Kanälen.

Grüße
Paco
Zitieren

#11
JFA schrieb:Es wurde zwar schon oft genug erwähnt, aber hier noch einmal: Basotect ist nicht das optimale Material um Stehwellen zu bedämpfen.

Bildlicher Hintergrund: es gibt zwei Möglichkeiten, Dämpfungsmaterialien anzubringen, nämlich parallel oder in Reihe zur Ausbreitungsrichtung. In dem Fall Deines Rohres wäre parallel eine mit dem Material ausgekleidete Wand, in Reihe ein Stopfen mittendrin oder an einem Ende.

Übersetzen wir das einmal in eine elektrische Schaltung: Du hast einen relativ kleinen Widerstand (das freie Rohr), und schaltest dann dazu einen Widerstand (das Dämpfungsmaterial) parallel bzw. in Reihe. Angenommen, der zusätzliche Widerstand wäre sehr groß, dann fließt im parallelen Fall der gesamte Strom durch den kleinen (das Rohr), während in der Reihenschaltung kaum noch Strom fließt.

Basotect hat einen sehr hohen Widerstand, ist in diesem Fall also nicht geeignet. Es funktioniert ziemlich gut in der Raumakustik in diffusen Feldern (aber z. B. nicht mehr bei Moden). Andere Schäume sind hier viel besser geeignet.

Hallo JFA,

welche anderen Schäume hältst Du denn für diese Anwendung für besser geeignet?

Grüße
Paco
Zitieren

#12
Alle Big Grin

Diesen hier benutze ich sehr häufig: https://www.cellofoam.de/produkte/produk...cello-470/
Ist ein PUR-Ester-Schaum, und wirkt auch im Tieftonbereich ganz gut - wenn man denn der Luftströmung genügend Weg im Schaum zur Verfügung stellt.
Zitieren

#13
https://www.cellofoam.de/fileadmin/user_...an/470.pdf

@jfa, Ist also ein Noppenschaum :-)
Wirklich effektiv dämpft der aber erst ab 50 mm Stärke und ab 400 Herz, oder ?

Mehr zu dem Thema auch hie, da kaufe ich meinen Noppenschaum immer: https://www.schaumstofflager.de/schalldaemmung/
In Hamburg sagt man, Moin , LG Olaf_HH
Meine aktuellen Projekte auf IGDH:
Kondensatoren, gibt es klangliche Unterschiede ? - [B] M-L-W-R --Sherwood PM9800 --
[/B]Magnat MA900 Röhrentuning -- DynaLigth-MK2

Zitieren

#14
Olaf_HH schrieb:https://www.cellofoam.de/fileadmin/user_...an/470.pdf

@jfa, Ist also ein Noppenschaum :-)
Wirklich effektiv dämpft der aber erst ab 50 mm Stärke und ab 400 Herz, oder ?

Mehr zu dem Thema auch hie, da kaufe ich meinen Noppenschaum immer: https://www.schaumstofflager.de/schalldaemmung/

Wo und in welcher Menge würdet Ihr denn Dämmpfungsmaterial in meiner Konstruktion verteilen, das:

-die Baßverstärkung durch die Passivmembran wenig Einbußen hat
-die Längereso mit ca. 240Hz und die ca. 470Hz Reso deutlich reduziert werden

Und an welcher Stelle würdet Ihr bei dieser Konstruktion 1-2 IRR´s einsetzen, um eine evtl. verbliebene Rest-Reso weg zu bekommen?

Grüße aus Kölle
Paco
Zitieren

#15
Moin zusammen,

hier hatte ich mal versucht, möglichst viele Daten zu unterschiedlichen Dämpfungsmaterialien zusammen zu stellen.

Ein wichtiger Punkt bei der Verwendung von Dämpfungsmaterialien ist m.E. die Anpassung der Impedanz, siehe den Beitrag hier.

Zitat:Was passiert, wenn der Unterschied der Schallkennimpedanz zwischen Luft und Dämpfungsmaterial groß wird? Das wird hier erklärt:
Wie in der Einführung zur Absorption beschrieben, darf der Schallkennimpedanz-Unterschied vor und hinter einer Grenzfläche, hier die Oberfläche des porösen Absorbers, nicht zu groß werden, da der Schall sonst vermehrt reflektiert wird.


Der Schallkennimpedanz-Unterschied vor und hinter der Grenzfläche einer ebenen Basotect-Schicht ist schlicht höher, als der eines längs angeordneten Basotect-Fibsorb-Sandwichs.

So verstehe ich auch den Hinweis von JFA:
Zitat:Übersetzen wir das einmal in eine elektrische Schaltung: Du hast einen relativ kleinen Widerstand (das freie Rohr), und schaltest dann dazu einen Widerstand (das Dämpfungsmaterial) parallel bzw. in Reihe. Angenommen, der zusätzliche Widerstand wäre sehr groß, dann fließt im parallelen Fall der gesamte Strom durch den kleinen (das Rohr), während in der Reihenschaltung kaum noch Strom fließt.

Was tun? Ein Dämpfungsmaterial einsetzen, das eben keinen so hohen Widerstand wie Basotect bietet, oder eben durch geschickte Schichtung unterschiedlicher Dämpfungsmaterialien (z.B. Fibsorb-Basotect-Fibsorb) die Schallkennimpedanz anpassen und mit den Schichtdicken spielen.

Gruß,
Christoph

PS: Ich würde auch bevorzugt versuchen, hier IRRs einzusetzen.
Zitieren

#16
JFA schrieb:Alle Big Grin

Diesen hier benutze ich sehr häufig: https://www.cellofoam.de/produkte/produk...cello-470/
Ist ein PUR-Ester-Schaum, und wirkt auch im Tieftonbereich ganz gut - wenn man denn der Luftströmung genügend Weg im Schaum zur Verfügung stellt.

Ist das "normaler" Noppenschaumstoff?
Zitieren

#17
Das ist kein Noppenschaumstoff. Der hat eine geprägte Oberfläche, aber das war es auch schon. Ich setze den auch immer längs zu Ausbreitungsrichtung ein. Als ob man das hier verwendete Rohr damit auskleiden würde.

Die Prägung hat auch keinen Effekt in der Richtung, ist eher... kosmetischer Natur.
Zitieren

#18
Jochen, wenn ich dich richtig verstehe, dann sollte also das Rohr ausgekleidet werden und in der Mitte eine Schicht Dämmaterial so dick rein, das alles oberhalb 150 HZ bedämpft wird, damit die PM nicht beeinträchtigt wird ?
In Hamburg sagt man, Moin , LG Olaf_HH
Meine aktuellen Projekte auf IGDH:
Kondensatoren, gibt es klangliche Unterschiede ? - [B] M-L-W-R --Sherwood PM9800 --
[/B]Magnat MA900 Röhrentuning -- DynaLigth-MK2

Zitieren

#19
Das Auskleiden ist eine Möglichkeit. Es geht ja nur darum in dem Rohr den Dämpfungskoeffizienten zu erhöhen, und das erzeugt man ziemlich einfach durch eine teilweise Füllung mit Dämpfungsmaterial. Indem man die gesamte Länge verwendet dämpft man auch alle vorhandenen Moden ganz gut. Der Stopfen in der Mitte ist nicht nötig.

Es muss natürlich klar sein, dass jegliches eingebrachtes Dämpfungsmaterial den Bassoutput reduziert, weil JEDE Frequenz bedämpft wird.

Der IRR oder IHR reduziert das, weil die Dämpfung frequenzselektiv stattfindet (als Ersatzschaltbild: parallel zum Widerstand wird eine Spule und ein Kondensator geschaltet, es entsteht ein RLC-Parallelschwinglkreis). Dafür ist er konstruktiv aufwändiger, und muss ziemlich genau abgestimmt werden
Zitieren



Möglicherweise verwandte Themen…
Thema Verfasser Antworten Ansichten Letzter Beitrag
  Frage zu einer Frequenzweiche ecc83 11 2.091 25.04.2025, 15:11
Letzter Beitrag: ecc83
  Wie man aus einer defekten SEAS TAF27plus einen Noferro 900 ähnlichen macht AR 5 970 09.01.2025, 11:04
Letzter Beitrag: SimonSambuca
  Gedanken zu einer guten Soundbar BiGKahuunaBob 12 1.845 16.12.2024, 17:26
Letzter Beitrag: JFA
  Vier Koaxial Lautsprecher, einer strahlt nach unten ax3 12 2.741 18.09.2021, 21:04
Letzter Beitrag: naumi
  Spitzenkraft einer Schwingspule berechnen? FoLLgoTT 23 5.669 03.01.2021, 10:06
Letzter Beitrag: FoLLgoTT
  Da hat sich mal einer ausgetobt ... Joern 25 7.291 06.03.2020, 22:17
Letzter Beitrag: Olaf_HH
  Suche Beiträge zu einer eptimalen Positionierung der Chassis auf der Frontwand xajas 13 3.024 10.01.2019, 10:04
Letzter Beitrag: HiFi-Selbstbau
  Wie viel Bass lässt sich aus einer Auto-Tür rausholen? Lange92 9 3.545 18.02.2018, 18:02
Letzter Beitrag: Lange92
  Position einer Passivmembran zeppi 14 5.620 02.03.2017, 08:20
Letzter Beitrag: DemonCleaner
  Aufbau einer Frequenzweiche mit Open Source Software und PC ueber HDMI und AV Receive loafmeat 9 6.638 27.06.2016, 15:58
Letzter Beitrag: newmir

Gehe zu:


Benutzer, die gerade dieses Thema anschauen:
1 Gast/Gäste

Deutsche Übersetzung: MyBB.de, Powered by MyBB, © 2002-2025 Melroy van den Berg.